Slide needle specifications for Dellorto PHBH motorcycle carburetors (X slides): Series 9477 X 08 X
Detailed technical information regarding Dellorto motorcycle carburetors, how to tune Dellorto motorcycle carburetors, Dellorto parts diagrams, slide specifications, needle specifications, jet specifications, and atomizer specifications.
This information was gleaned from Eurocarb. When I originally created this page on , I meticulously recreated the table of values from a very difficult to read original image. Mistakes were definitely present as the original image was of poor quality. Here is a link to the original image in case you would like to scrutinize any particulars.
On I noted that Eurocarb had greatly improved the quality of these specifications. I've updated the specification with accurate information as provided by Eurocarb.

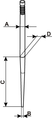
Photo courtesy of Eurocarb.
| Type | Value X | Characteristic expressed in millimeters | ||||
|---|---|---|---|---|---|---|
| ØA | ØB | C | ØD | E | ||
| X1 | 1 | 2.48 | 1.20 | 26 | - | - |
| X2 | 2 | 2.50 | 1.80 | 24 | - | - |
| X3 | 3 | 2.46 | 1.60 | 22 | - | - |
| X4 | 4 | 2.48 | 1.80 | 20 | - | - |
| X5 | 5 | 2.46 | 1.80 | 24 | - | - |
| X6 | 6 | 2.50 | 1.20 | 26 | - | - |
| X7 | 7 | 2.50 | 1.80 | 20 | - | - |
| X8 | 8 | 2.50 | 1.40 | 26 | - | - |
| X9 | 9 | 2.50 | 1.40 | 18 | - | - |
| X10 | 10 | 2.50 | 1.40 | 20 | - | - |
| X11 | 11 | 2.50 | 1.40 | 22 | - | - |
| X12 | 12 | 2.50 | 1.80 | 18 | - | - |
| X13 | 13 | 2.50 | 1.80 | 22 | - | - |
| X14 | 14 | 2.50 | 0.80 | 24 | - | - |
| X15 | 15 | 2.50 | 0.80 | 26 | - | - |
| X16 | 16 | 2.50 | 0.80 | 28 | - | - |
| X17 | 17 | 2.50 | 1.20 | 24 | - | - |
| X18 | 18 | 2.50 | 1.20 | 28 | - | - |
| X19 | 19 | 2.48 | 1.00 | 28 | - | - |
| X20 | 20 | 2.42 | 1.00 | 22 | - | - |
| X21 | 21 | 2.50 | 1.00 | 20 | - | - |
| X22 | 22 | 2.48 | 1.20 | 28.5 | - | - |
| X23 | 23 | 2.46 | 1.20 | 26 | - | - |
| X24 | 24 | 2.50 | 1.00 | 30 | - | - |
| X25 | 25 | 2.50 | 1.80 | 25 | - | - |
| X27 | 27 | 2.48 | 1.40 | 20 | - | - |
| X28 | 28 | 2.50 | 1.20 | 26 | 2.38 | 20 |
| X29 | 29 | 2.50 | 0.60 | 30 | - | - |
| X30 | 30 | 2.50 | 1.00 | 28 | 2.30 | 20 |
| X31 | 31 | 2.48 | 1.20 | 28 | - | - |
| X32 | 32 | 2.48 | 1.80 | 24 | - | - |
| X33 | 33 | 2.50 | 1.00 | 32 | - | - |
| X34 | 34 | 2.48 | 1.20 | 29 | 2.34 | 15 |
| X35 | 35 | 2.48 | 0.80 | 26 | 2.32 | 20 |
| X36 | 36 | 2.53 | 0.60 | 30 | - | - |
| X37~ | 37 | 2.53 | 0.60 | 30 | - | - |
| X38 | 38 | 2.48 | 1.20 | 28 | 2.28 | 20 |
| X39 | 39 | 2.50 | 0.80 | 26 | 2.33 | 20 |
| X40 | 40 | 2.50 | 0.80 | 27 | 2.33 | 24 |
| X41 | 41 | 2.48 | 1.00 | 29 | 2.43 | 27 |
| X42 | 42 | 2.53 | 0.65 | 29.25 | - | - |
| X43 | 43 | 2.50 | 0.80 | 24 | 2.38 | 18 |
| X44 | 44 | 2.46 | 1.80 | 22 | - | - |
| X45 | 45 | 2.48 | 0.80 | 24.5 | 2.30 | 18 |
| X46 | 46 | 2.50 | 1.20 | 23 | - | - |
| X48 | 48 | 2.47 | 1.80 | 29 | - | - |
| X47 | 47 | 2.50 | 1.80 | 30 | 2.35 | 15 |
| X49 | 49 | 2.50 | 1.20 | 22 | - | - |
| X50 | 50 | 2.50 | 1.20 | 25 | - | - |
| X51 | 51 | 2.50 | 1.20 | 24 | 2.37 | 18 |
| X52 | 52 | 2.52 | 0.98 | 29.46 | - | - |
| X53 | 53 | 2.53 | 0.60 | 28 | 2.40 | 24 |
| X54 | 54 | 2.50 | 1.30 | 28 | 2.35 | 20 |
| X55 | 55 | 2.51 | 0.98 | 29.25 | - | - |
| X56 | 56 | 2.50 | 0.80 | 26 | 2.36 | 22 |
| X57 | 57 | 2.50 | 0.98 | 29.05 | - | - |
| X58* | 58 | 2.50 | 0.60 | 30 | - | - |
| X59 | 59 | 2.50 | 1.00 | 21 | - | - |
| X60 | 60 | 2.54 | 1.00 | 28 | - | - |
| X61 | 61 | 2.46 | 1.80 | 20 | - | - |
| X62 | 62 | 2.50 | 1.00 | 30 | 2.31 | 22 |
| X63 | 63 | 2.50 | 1.20 | 27 | - | - |
| X64 | 64 | 2.50 | 1.30 | 30 | 2.31 | 22 |
| X65 | 65 | 2.52 | 1.00 | 34 | - | - |
| X66 | 66 | 2.53 | 0.98 | 29.65 | - | - |
| X68 | 68 | 2.45 | 1.80 | 28.14 | - | - |
| X67 | 67 | 2.52 | 1.00 | 32 | - | - |
| X69* | 69 | 2.52 | 0.98 | 29.46 | - | - |
| X70 | 70 | 2.52 | 0.65 | 29.09 | - | - |
| X71 | 71 | 2.48 | 1.00 | 29 | - | - |
| X72* | 72 | 2.52 | 1.02 | 29.55 | - | - |
| X73 | 73 | 2.52 | 1.02 | 29.55 | - | - |
| X74 | 74 | 2.52 | 1.60 | 30 | - | - |
| X75 | 75 | 2.52 | 1.60 | 29 | - | - |
| X76 | 76 | 2.52 | 1.60 | 29.36 | - | - |
| X77 | 77 | 2.48 | 0.80 | 26 | - | - |
| X78 | 78 | 2.52 | 1.11 | 29.22 | - | - |
| X79 | 79 | 2.51 | 1.01 | 28.17 | - | - |
| X80 | 80 | 2.50 | 1.20 | 26 | - | - |
| X81 | 81 | 2.48 | 1.00 | 24 | - | - |
| X82 | 82 | 2.53 | 0.98 | 29.46 | - | - |
| X83 | 83 | 2.53 | 0.98 | 28.86 | - | - |
| X84 | 84 | 2.52 | 0.98 | 29.46 | - | - |
| X85 | 85 | 2.48 | 1.00 | 32 | - | - |
| X86 | 86 | 2.50 | 1.60 | 29 | - | - |
| X88 | 88 | 2.50 | 1.20 | 28 | - | - |
| X87 | 87 | 2.54 | 1.40 | 30 | - | - |
* Constructed of anodized aluminum ~ Differs from X36 in length; X37 has a length of 56.2 | ||||||